返回工控网首页
|
| 添加到收藏夹
中国自动化学会专家咨询工作委员会指定宣传媒体
免费注册
广告服务
|
客服中心
您现在所在的是:
电工技术
工控论坛首页
→
电工技术
→ 浏览主题:
喜欢电气控制设计的来看看
回帖:
147
个,阅读:
47977
次
[上一页]
[1]
...
[10]
[11]
[12]
[13]
[14]
[15]
[下一页]
* 帖子主题:
喜欢电气控制设计的来看看
收藏
分享到
1059
windh
文章数:
12
年度积分:
50
历史总积分:
1059
作者的所有帖子(12)
注册时间:
2003/7/21
发站内信
发表于:2006/4/22 19:18:00
#90楼
【方案】
1580mm热轧加热炉控制系统
只看该作者
|
赞
[0]
|
踩
[0]
|
引用
|
回复
|
编辑
|
推荐
|
举报
|
管理
1059
windh
文章数:
12
年度积分:
50
历史总积分:
1059
作者的所有帖子(12)
注册时间:
2003/7/21
发站内信
发表于:2006/4/23 8:29:00
#91楼
【方案】
助力法医调查——FLIR红外热像仪让“血手印”更加清晰
只看该作者
|
赞
[0]
|
踩
[0]
|
引用
|
回复
|
编辑
|
推荐
|
举报
|
管理
1059
windh
文章数:
12
年度积分:
50
历史总积分:
1059
作者的所有帖子(12)
注册时间:
2003/7/21
发站内信
发表于:2006/4/23 8:44:00
#92楼
【方案】
系统集成的高端测量技术 推进机械制造行业的创新发展
只看该作者
|
赞
[0]
|
踩
[0]
|
引用
|
回复
|
编辑
|
推荐
|
举报
|
管理
989
kingclean
文章数:
10
年度积分:
50
历史总积分:
989
作者的所有帖子(10)
注册时间:
2006/2/25
发站内信
发表于:2006/4/23 8:51:00
#93楼
很简单的
【方案】
华北工控ATX-6992SY主板,助力实现智慧停车场车牌自动识别
只看该作者
|
赞
[0]
|
踩
[0]
|
引用
|
回复
|
编辑
|
推荐
|
举报
|
管理
1068
liulingtong
文章数:
28
年度积分:
50
历史总积分:
1068
作者的所有帖子(28)
注册时间:
2006/4/15
发站内信
发表于:2006/4/23 10:05:00
#94楼
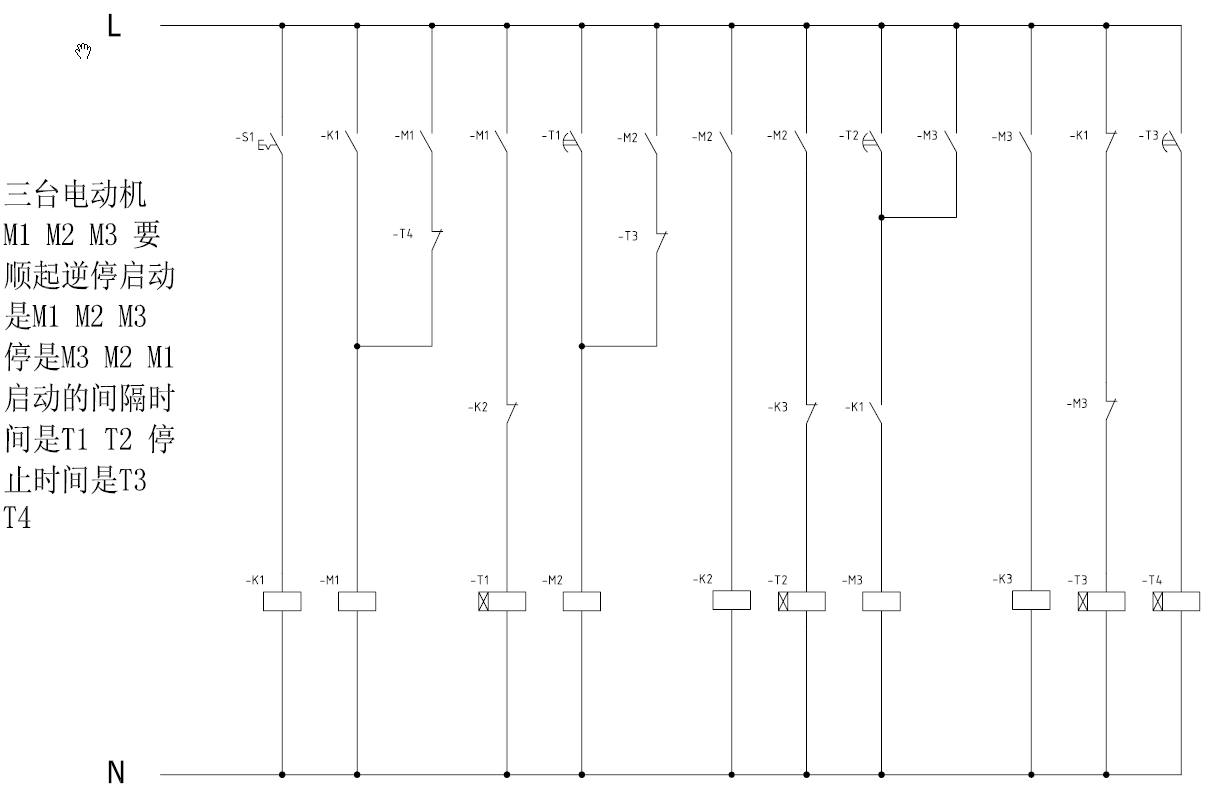
用一个中间继电器,三个时间继电器,三个接触器来实现,首先,按扭和中间继电器连接,ZJ1号接点和SJ1常开接点并接后与SJ1线圈串接,ZJ2号接点与SJ2常开接点并接再串接SJ1延时常开接点和SJ2线圈,ZJ3号接点与SJ3常开接点并接再串接SJ2延时接点和SJ3线圈,SJ1,SJ2,SJ3的接点分别与C1,C2,C3的线圈串接再加自锁就可以实现了
【方案】
台达20PM在精密冲压成型机上的应用
只看该作者
|
赞
[0]
|
踩
[0]
|
引用
|
回复
|
编辑
|
推荐
|
举报
|
管理
1042
xushirong123
文章数:
26
年度积分:
50
历史总积分:
1042
作者的所有帖子(26)
注册时间:
2006/4/23
发站内信
发表于:2006/4/23 10:40:00
#95楼
可以用时间继电器就简单了.
【方案】
SMART IE通过BCNet与松下PLC以太网通讯
只看该作者
|
赞
[0]
|
踩
[0]
|
引用
|
回复
|
编辑
|
推荐
|
举报
|
管理
1066
邓天辞
文章数:
26
年度积分:
50
历史总积分:
1066
作者的所有帖子(26)
注册时间:
2006/4/12
发站内信
发表于:2006/4/23 16:09:00
#96楼
看看到底是怎么一回事
【方案】
IPE200变频器在无缝钢管线供水系统上的应用
只看该作者
|
赞
[0]
|
踩
[0]
|
引用
|
回复
|
编辑
|
推荐
|
举报
|
管理
1036
ljfxyw
文章数:
17
年度积分:
50
历史总积分:
1036
作者的所有帖子(17)
注册时间:
2006/1/12
发站内信
发表于:2006/4/24 22:25:00
#97楼
老表,得用集成块,前一个电路用四运放LM324可以作。后一个电路用双D触发器CC4013可以作,而且很便宜。只是我在电脑上不会画图,不然我画给你。
【方案】
药品实验室的温湿度监测系统:高效、合规的有力保障
只看该作者
|
赞
[0]
|
踩
[0]
|
引用
|
回复
|
编辑
|
推荐
|
举报
|
管理
1003
HONGAIJUN
文章数:
1
年度积分:
50
历史总积分:
1003
作者的所有帖子(1)
注册时间:
2006/4/25
发站内信
发表于:2006/4/25 14:17:00
#98楼
呵呵,我比较笨!用了6个继电器。虽然多了点!但我想楼主的要求一定能做到。多加了一个继电器是防止触点不够才使用的,严格算起来用了7个继电器。呵呵!
用PLC就没这么烦了!楼主!把你的传真给我!我发给你看看!是不是你用的那种控制!
【方案】
图尔克分布式屏蔽电敏保护设备
只看该作者
|
赞
[0]
|
踩
[0]
|
引用
|
回复
|
编辑
|
推荐
|
举报
|
管理
1041
45863145
文章数:
10
年度积分:
50
历史总积分:
1041
作者的所有帖子(10)
注册时间:
2005/10/9
发站内信
发表于:2006/4/25 15:40:00
#99楼
一个题目搞了2年,是不是该换话题了,也差不多了,
【方案】
服务智能化社会!华北工控可以提供康复机器人专用嵌入式产品方案
只看该作者
|
赞
[0]
|
踩
[0]
|
引用
|
回复
|
编辑
|
推荐
|
举报
|
管理
工控学堂推荐视频:
PLC学习视频
变频器学习视频
西门子学习视频
三菱学习视频
更多学习视频>>
•
[视频课程]电工进阶电气工程师的一百种可能
•
[视频课程]你还不会电机正反转电路吗
•
[视频课程]三节课掌握星三角程序编写
•
[视频课程]电工如何快速入门PLC
•
[视频课程]十年老电工实操系列之从小白到超越中级
•
[视频课程]低压电工考证实操教程之电机控制接线实操
•
[视频课程]应用中的电动机控制与保护元器件选择
•
[视频课程]老司机带你玩转电工仪器仪表
•
[视频课程]电工操作证实操--科目二
140.4009