返回工控网首页
|
| 添加到收藏夹
中国自动化学会专家咨询工作委员会指定宣传媒体
免费注册
广告服务
|
客服中心
您现在所在的是:
三菱Mitsubishi
工控论坛首页
→
三菱Mitsubishi
→ 浏览主题:
真心请教三菱伺服,位置控制信号问题
回帖:
7
个,阅读:
2288
次
[上一页]
[1]
[下一页]
* 帖子主题:
真心请教三菱伺服,位置控制信号问题
收藏
分享到
913
356058880
文章数:
5
年度积分:
50
历史总积分:
913
作者的所有帖子(5)
注册时间:
2009/12/23
发站内信
发表于:2012/12/11 23:20:06
#0楼
位置控制的信号有普通集电极开路与差动输入两种模式。但是不管是哪种模式,都公用一个发光二极管。也就是说,不管是集电极开路或者差动输入,其实点亮的是同一个发光二极管。由此是否可以得出,我用非差动的信号 来 借用差动信号的口 来驱动伺服?即使用PP PG NP NG 四个口。但是PP PG给定普通脉冲的信号来驱动伺服速度,NP NG也用普通脉冲信号来选择方向?
【方案】
施耐德电气柜式变频器在拉法基水泥窑主传的应用
只看该作者
|
赞
[1]
|
踩
[0]
|
引用
|
回复
|
编辑
|
推荐
|
举报
|
结帖
|
管理
87188
ZCMY
版主
文章数:
47802
年度积分:
395
历史总积分:
87188
作者的所有帖子(47802)
注册时间:
2004/3/16
发站内信
2018论坛贡献奖
2018春节活动(三)
2017论坛优秀版主
2017国庆活动(三)
2016论坛优秀版主
2015论坛优秀版主
2014论坛优秀版主
2014相约国庆
2013论坛优秀版主
2012论坛优秀版主
2011论坛贡献奖
2010年论坛优秀版主
发表于:2012/12/12 13:50:22
#1楼
呵呵;用非差动的信号 来 借用差动信号的口,目的是什么?
【方案】
台达PLC在节能灯老炼机国产化改造中的应用
只看该作者
|
赞
[1]
|
踩
[0]
|
引用
|
回复
|
编辑
|
推荐
|
举报
|
管理
913
356058880
文章数:
5
年度积分:
50
历史总积分:
913
作者的所有帖子(5)
注册时间:
2009/12/23
发站内信
发表于:2012/12/12 23:11:01
#2楼
目的当然是驱动伺服了。因为差动信号都是要加模块的,成本高。请问这样能否直接驱动?这个PLC是S7-200
【方案】
碳捕获——现实的解决方案还是昂贵的迂回路线 | 维萨拉 (Vaisala)
只看该作者
|
赞
[1]
|
踩
[0]
|
引用
|
回复
|
编辑
|
推荐
|
举报
|
管理
913
356058880
文章数:
5
年度积分:
50
历史总积分:
913
作者的所有帖子(5)
注册时间:
2009/12/23
发站内信
发表于:2012/12/12 23:13:00
#3楼
因为用OPC不行。那个发光二极管不像松下一样,是双向导通的
【方案】
CNC | 画面切换知多少 - PLC直接画面选择
只看该作者
|
赞
[1]
|
踩
[0]
|
引用
|
回复
|
编辑
|
推荐
|
举报
|
管理
10398
产品体验中心会员
339402782
文章数:
3209
年度积分:
50
历史总积分:
10398
作者的所有帖子(3209)
注册时间:
2010/6/2
发站内信
2011国庆活动
发表于:2012/12/12 23:42:40
#4楼
那你用集电极开路输出不行么?非得用差动?
【方案】
产业机械节能改造&技术改造 Produce Machinery Energy Saving
只看该作者
|
赞
[1]
|
踩
[0]
|
引用
|
回复
|
编辑
|
推荐
|
举报
|
管理
913
356058880
文章数:
5
年度积分:
50
历史总积分:
913
作者的所有帖子(5)
注册时间:
2009/12/23
发站内信
发表于:2012/12/13 16:23:43
#5楼
高手能补张集电极开路的路吗?描述下也行啊。
【方案】
加工机 | 官方教程!VZ系列加工头的点检和清扫怎么做?
只看该作者
|
赞
[1]
|
踩
[0]
|
引用
|
回复
|
编辑
|
推荐
|
举报
|
管理
10398
产品体验中心会员
339402782
文章数:
3209
年度积分:
50
历史总积分:
10398
作者的所有帖子(3209)
注册时间:
2010/6/2
发站内信
2011国庆活动
发表于:2012/12/13 16:44:03
#6楼
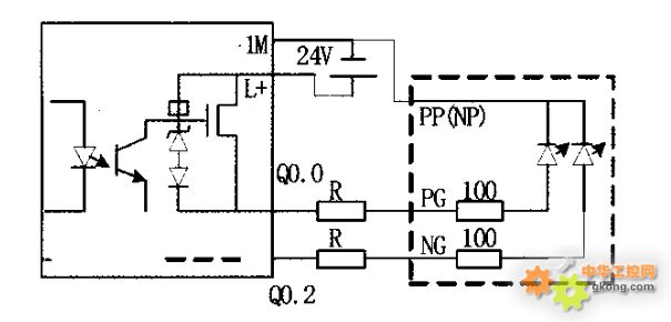
这是J2伺服的连接图,J3的应该也一样
【方案】
图尔克RFID高度灵活的Q300系列
只看该作者
|
赞
[1]
|
踩
[0]
|
引用
|
回复
|
编辑
|
推荐
|
举报
|
管理
913
356058880
文章数:
5
年度积分:
50
历史总积分:
913
作者的所有帖子(5)
注册时间:
2009/12/23
发站内信
发表于:2012/12/14 15:23:37
#7楼
您的三极管是开关信号,无电位的,即导通或截至。而我的是高电位信号,不能用
【方案】
CNC|掌握黑科技! FTP文件传输小妙招
只看该作者
|
赞
[1]
|
踩
[0]
|
引用
|
回复
|
编辑
|
推荐
|
举报
|
管理
工控学堂推荐视频:
PLC学习视频
变频器学习视频
西门子学习视频
三菱学习视频
更多学习视频>>
•
[视频课程]三菱PLC程序进制转化你懂了吗
•
[视频课程]三菱FX5U简单CPU通信功能应用
•
[视频课程]三菱FX系列PLC的ST编程
•
[视频课程]搞懂三菱FX系列PLC编程指令,看这就够了
•
[视频课程]三菱FX系列PID应用
•
[视频课程]三菱FX系列PLC的FB使用讲解
•
[视频课程]30分钟带你了解三菱PLC模拟量应用
•
[视频课程]三菱FX5U系列精品课程基础篇
•
[视频课程]三菱PLC入门指导
62.4004